XY51S03B
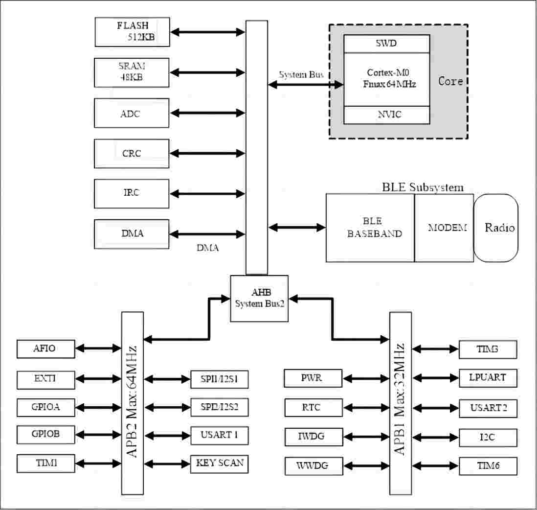
藍牙芯片是InnoStar新一代高性能、超低功耗的藍牙5.1芯片,采用32位ARM Cortex-M0內核,最高工作主頻64MHz,片上集成48KB SRAM,512KB Flash。
采用32位ARMCortex-M0內核,最高工作主頻64MHz,支持BLE5.1,發射電流4.2mA,接收電流3.8mA,最大發射功率+6dBm,接收靈敏度-94dBm@BLE1Mbps,支持SIG Mesh。適用于藍牙KEY,OBU,數傳模塊,藍牙語音遙控器,智能家居等多種應用場景。
| 關鍵特性 |
|
|
|
•32位ARM Cortex®-M0內核
•主頻72MHZ
•48KB SRAM,512KB Flash
•BLE5.1射頻收發器
•藍牙BLE5.1
•1Mbps BLE模式
•2Mbps增強BLE模式
•125kbps BLE遠程模式
|
•500kbps BLE遠程模式
•支持AOA(到達角)和AOD(離去角)
•支持RSSI(接收器信號強度指示)
• 支持數據包長度擴展
• 支持KEYSCAN,IRC,10位1.33Msps ADC
• 支持模擬MIC輸入,PGA放大
• 支持基本、通用、高級TIMER,RTC,WWDG,IWDG,LPUART,USART,SPI,I2C等外設
|
 |
| ★擁有與高性能、超低功耗等性能特性,具有更低的成本優勢,能夠替代并超越國外高端藍牙芯片 |
|
| 型號 |
藍牙協議 |
Flash(KB) |
SRAM(KB) |
CPU頻率 |
電壓 |
RTC |
SPI |
I2S |
I2C |
USART |
LPUART |
GPIO |
AMIC |
DMA |
10位ADC |
CRC |
封裝 |
PDF下載 |
| XY51S03B |
BLE5.1 |
512 |
48 |
ARM Cortex-M0 @64MHz |
2.32V~3.6V |
1 |
2 |
2 |
1 |
2 |
1 |
21 |
1 |
1(5) |
1(8) |
CRC16/CRC32 |
QFN32 |
暫無 |